On m'a piqué mon bouchon de radiateur !
On m'a piqué mon bouchon de radiateur !
Bonjour
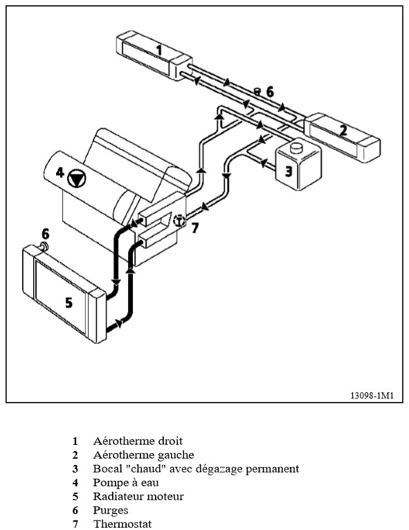
Juste une confirmation, il n'y a pas de bouchon de radiateur sur mon Teatime ?
Au vu des photos du post http://forum.avantimepassion.fr/viewtop ... 105&t=2846 je dirai non.
On fait tout par le bocal ?
Juste une confirmation, il n'y a pas de bouchon de radiateur sur mon Teatime ?
Au vu des photos du post http://forum.avantimepassion.fr/viewtop ... 105&t=2846 je dirai non.
On fait tout par le bocal ?
AVANTIME 3l V6 - Privilège - 215000 km - Steppe / Sahara - Jantes Rodes 17"
Hier:
Aujourd'hui:
Demain ?: 
Hier:
Aujourd'hui:
Demain ?: 
-
avt47700
- Donateur 2016 [Merci !]
- Messages : 850
- Inscription : 31 oct. 2013, 10:59
- Localisation : FRANCE - (47) - Lot et Garonne - CASTELJALOUX
Re: On m'a piqué mon bouchon de radiateur !
Lancia Fulvia 1,3S Coupé Grigio Escoli 1974
Dci - Privilège -Vert Scarabée - Vendu
V6 - Dynamique - Bleu Illiade - Vendu
- Bapt bidiscoot
- Messages : 576
- Inscription : 06 sept. 2016, 23:05
Re: On m'a piqué mon bouchon de radiateur !
je l'ai cherché aussi la semaine derniere...
j'ai réussi à boucher le trou du radiateur interieur avec un additif, mais au moment de mettre le produit dans le radiateur comme le préconise le mode d'emploi... "oh.. y a pas de bouchon!"
j'ai réussi à boucher le trou du radiateur interieur avec un additif, mais au moment de mettre le produit dans le radiateur comme le préconise le mode d'emploi... "oh.. y a pas de bouchon!"
Avantime 2,2 dci dynamique scarabée
-
ag17
- Donateur 2016 & 2019 [Merci !]
- Messages : 1872
- Inscription : 04 janv. 2010, 11:27
- Localisation : FRANCE- (79) - Deux Sèvres -
Re: On m'a piqué mon bouchon de radiateur !
Effectivement, et à verser le produit dans le vase d'expansion ne pose pas de problème, (malgré l'avertissement sur le flacon). Il faut juste rouler suffisamment pour avoir les 4 barrettes de façon à être certain de l'ouverture en grand du calorstat . Je pratique sur toutes mes autos , en préventif, de cette façon et tout va bien
.
- Spaza
- Messages : 4864
- Inscription : 24 avr. 2011, 23:29
- Localisation : FRANCE - (57) - Moselle - Vallée de la Fensch
Re: On m'a piqué mon bouchon de radiateur !
Ne mettez pas le produit dans le vase !
Comme il est plein d'alveole il restera du produit partout
Rendant difficile la lecture de niveau par la suite
Le verser dans une des grosse durite
Comme il est plein d'alveole il restera du produit partout
Rendant difficile la lecture de niveau par la suite
Le verser dans une des grosse durite
Re: On m'a piqué mon bouchon de radiateur !
C'est ce que je pensais, le mettre dans le vas, ça ne sert à rien car il ne sert qu'a compenser.
AVANTIME 3l V6 - Privilège - 215000 km - Steppe / Sahara - Jantes Rodes 17"
Hier:
Aujourd'hui:
Demain ?: 
Hier:
Aujourd'hui:
Demain ?: 
- Spaza
- Messages : 4864
- Inscription : 24 avr. 2011, 23:29
- Localisation : FRANCE - (57) - Moselle - Vallée de la Fensch
Re: On m'a piqué mon bouchon de radiateur !
Non ça marche aussi car ça circule ...
-
ag17
- Donateur 2016 & 2019 [Merci !]
- Messages : 1872
- Inscription : 04 janv. 2010, 11:27
- Localisation : FRANCE- (79) - Deux Sèvres -
Re: On m'a piqué mon bouchon de radiateur !
, c'est certain que de mettre le produit directement dans le circuit avant le thermostat, c'est l'idéal
. Mais si l'on ajoute un produit liquide dans le vase d'expansion(après retrait de la dose correspondante de LDR) et l'on fait un bon trajet (je fais environ 250 kms), le mélange est parfaitement réalisé et homogène.
Après chacun fait selon son expérience et ses habitudes si elles lui donnent satisfaction , surtout quand c'est plus simple
. Ce n'est que mon avis...que je partage 
Après chacun fait selon son expérience et ses habitudes si elles lui donnent satisfaction , surtout quand c'est plus simple
- Spaza
- Messages : 4864
- Inscription : 24 avr. 2011, 23:29
- Localisation : FRANCE - (57) - Moselle - Vallée de la Fensch
Re: On m'a piqué mon bouchon de radiateur !
Merci mais faut il ouvrir le chauffage au max pour que ça circule vers le chauffage?
- Bapt bidiscoot
- Messages : 576
- Inscription : 06 sept. 2016, 23:05
Re: On m'a piqué mon bouchon de radiateur !
oui et surtout sur le bon circuit... j'avais mis le chauffage, mais pas sur les jambes...
Avantime 2,2 dci dynamique scarabée
- Spaza
- Messages : 4864
- Inscription : 24 avr. 2011, 23:29
- Localisation : FRANCE - (57) - Moselle - Vallée de la Fensch
Re: On m'a piqué mon bouchon de radiateur !
L eau ne circule t elle pas en permanence dans les radiateurs ...?
-
ag17
- Donateur 2016 & 2019 [Merci !]
- Messages : 1872
- Inscription : 04 janv. 2010, 11:27
- Localisation : FRANCE- (79) - Deux Sèvres -
Re: On m'a piqué mon bouchon de radiateur !
Si
, dès que la thermovalve s'ouvre, ce que ne dérange en rien le mode de distribution choisi
.
Re: On m'a piqué mon bouchon de radiateur !
Oui en fait le calorstat ne s'ouvre que lorsque le moteur est à température.
Le LDR circule entre le moteur et l'habitable. Lorsque l'on fait varier la température de chauffage, on ouvre plus ou moins les volets entre les radiateurs de chauffage et l'habitacle.
Le LDR circule entre le moteur et l'habitable. Lorsque l'on fait varier la température de chauffage, on ouvre plus ou moins les volets entre les radiateurs de chauffage et l'habitacle.
AVANTIME 3l V6 - Privilège - 215000 km - Steppe / Sahara - Jantes Rodes 17"
Hier:
Aujourd'hui:
Demain ?: 
Hier:
Aujourd'hui:
Demain ?: 
- Spaza
- Messages : 4864
- Inscription : 24 avr. 2011, 23:29
- Localisation : FRANCE - (57) - Moselle - Vallée de la Fensch
Re: On m'a piqué mon bouchon de radiateur !
C est ce que je pensais.... lol